新聞資訊
新聞資訊
- 質量月預熱——建龍哈軸開展軸承材料與熱處理技術專項培訓
- 2025瓦房店軸承產業固鏈延鏈產需對接會議成功舉辦
- 無錫市市場監督管理局發布軸承產品質量監督抽查結果
- 瓦軸一周新聞速讀
- 再現高光時刻!洛軸助力全球批量最大18兆瓦海上風電機組裝機
聯系我們
手機:15621328688
電話:0538-6713788
郵箱:181234156@qq.com
地址:山東省泰安市龍潭路152-3號
行業新聞
小型滾珠花鍵LT-X/LF-X/LTR-V
- 作者:中瑞軸承
- 發布時間:2024-07-15
- 點擊:0



滾珠花鍵是一種直線導向產品,通過鋼球在精密研磨的花鍵軸的滾動槽中滾動,從而使花鍵母順暢地進行直線運動的同時傳遞扭矩。

滾珠花鍵帶來的3個優勢

01
高承載能力、長使用壽命
與直線軸承不同,滾珠花鍵具有滾動槽。滾動槽具有與鋼球類似的R形,因此可大幅度增加承載的載荷,實現高承載能力及長使用壽命。與直線軸承相比,其容許載荷為直線軸承的13倍,壽命約為直線軸承的2200倍。

02
輕量、小型化
滾珠花鍵可通過單軸承受扭矩,因此與直線軸承相比,具有外圍關聯部件小、部件數量少等優勢,從而可使主要部件輕量化,降低總體成本。

03
直線及旋轉構造
滾珠花鍵通過單軸傳遞扭矩,因此可實現直線及旋轉的組合運動。

小型滾珠花鍵
LT-X/LF-X
采用新循環路徑,
實現花鍵母外徑形狀的小型化,
并可支持高速運行的小型滾珠花鍵。

產品優勢
優勢1
小型化的螺母外徑形狀
采用新循環路徑,使花鍵母外徑比傳統型號LT/LF型更小。

外徑比最大縮小20%(與本公司傳統產品相比較)。
實現基礎部的小型化設計。
優勢2
支持高速運行
通過新循環路徑使鋼球循環變為最佳狀態,實現高速運行。
試驗結果:運行10,000km 后無異常
優勢3
運動平滑
與傳統型號相比,滾動阻力的波動變小。
優勢4
選配件 潤滑裝置QZ
潤滑裝置QZ是安裝在花鍵母兩端的潤滑部件。通過向花鍵軸的滾動槽供給適量的潤滑油,可時刻在滾動體和滾動面之間形成油膜,從而大幅度延長潤滑保養的間隔時間。
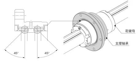
母旋轉式滾珠花鍵
LTR-V
此為支撐軸承與LT-X花鍵母的外圓面直接組合成一體的輕量化、小型單元型滾珠花鍵。

產品優勢
優勢1
外徑形狀小型化
LTR-V型在滾珠花鍵部采用LT-X型,比傳統型號LTR-A型更小。

優勢2
輕量
LTR-V型在滾珠花鍵部采用LT-X型,因此比傳統型號LTR-A型更輕。

優勢3
高剛性
支撐軸承采用了抗力矩負荷能力強的45°接觸角。


有關技術咨詢、產品購買等,
您可以識別上方二維碼,聯系人工客服

技術支持網站


向全球提供創新產品,
給社會帶來新風,
為創建富裕社會貢獻力量。
THK中國 官方網站:www.thk.com/cn/
- 上一篇:【新產品信息】超低波動 球保持器型LM滾動導軌SPH
- 下一篇:高速滾柱軸環RT

客服QQ